Noticias
¿Microsoft Teams te espiará? Eso sugiere una patente de Microsoft
La patente describe una tecnología capaz de ver si los usuarios están prestando atención en las reuniones.

- 31 de enero de 2024
- Actualizado: 8 de agosto de 2024, 17:14

Si utilizas Microsoft Teams y valoras tu privacidad, atento a esto. La archiconocida app de Microsoft para hacer reuniones online y trabajar en equipo podría integrar próximamente una tecnología capaz de detectar si alguien no está prestando atención en las reuniones, según una patente de Microsoft publicada recientemente.
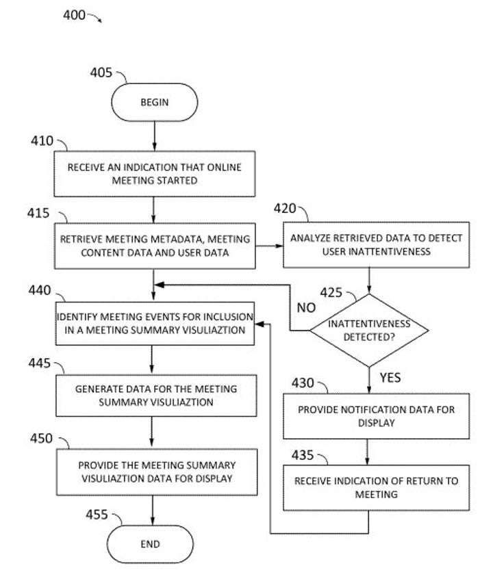
La patente describe un sistema basado en IA para averiguar si alguien no está prestando atención durante una reunión. El sistema obtiene información de la reunión, como lo que se está diciendo y mostrando, quién está en la reunión y cómo están utilizando sus dispositivos. A continuación, comprueba si alguien no está prestando atención mirando su cámara o lo que está haciendo en su dispositivo. Si el sistema detecta que alguien no está prestando atención, le enviará un mensaje para volver a captar su atención.

El sistema también recibe una señal de que la persona ha vuelto a la reunión y le muestra un resumen de lo que se ha perdido, similar a la función Intelligent Recap de Microsoft Teams, que muestra el resumen de una reunión y una serie de sugerencias de tareas. Y es que, por ahora, Microsoft Teams no cuenta con ninguna tecnología en la plataforma capaz de detectar si los usuarios están prestando atención en las reuniones, aunque los administradores sí pueden seguir la actividad de los usuarios en Teams por otros medios.
Eso sí, el documento argumenta que la tecnología no debe utilizarse para demostrar la falta de actividad de los empleados, sino para proporcionar los puntos destacados esenciales para aquellos participantes que participan en múltiples reuniones durante un mismo día: “Es necesario mejorar los sistemas y métodos para gestionar las reuniones de forma inteligente, supervisando su contenido y proporcionando información destacada que permita retener el contexto cuando sea necesario”.
De momento, se trata tan solo de una patente, por lo que esta nueva tecnología para Microsoft Teams no tiene por qué verse materializada necesariamente en un futuro. Incluso con las supuestas buenas intenciones de Microsoft, esta nueva tecnología podría plantear diversos problemas morales y éticos en un contexto laboral ya difícil para muchos, sobre todo para quienes trabajan en la industria tecnológica.
Publicista y productor audiovisual enamorado de las redes sociales. Paso más tiempo pensando a qué videojuegos voy a jugar que jugándolos.
Lo último de Pedro Domínguez
- Google quiere hacer más inteligente tu hogar gracias a estas nuevas funciones
- La última y brillante estrategia de Elon Musk para atraer anunciantes a Twitter es… ¿demandarlos?
- Nvidia lanza una nueva actualización de su nueva “app todo en 1” repleta de mejoras
- Posiblemente estemos (aún) más solos en el universo de lo que pensábamos
También te puede interesar
NoticiasCrowdStrike registra unos ingresos récord en medio de la preocupación por la IA
Leer más
NoticiasUn estudio revela que los potentes modelos lingüísticos pueden identificar cuentas anónimas
Leer más
NoticiasBarbra Streisand rendirá un encantador homenaje a Robert Redford en los Óscar
Leer más
NoticiasUna de las sitcom que más ha marcado época, renovada por una temporada 6
Leer más
NoticiasYa sabemos qué es el One Piece, pero para encontrarlo tendrás que comprarte un traje de buzo
Leer más
NoticiasPixar vuelve a estar metida de lleno en el éxito, pero no todas las películas tienen su suerte
Leer más